
清空記錄
歷史記錄
取消
清空記錄
歷史記錄



無錫綠禾盛環保科技有限公司是一家研發生產MVR蒸發器,多效/三效蒸發器,降膜蒸發器,廢水蒸發器,強制循環蒸發器,刮板式薄膜蒸發器,濃縮蒸發器,下面小編給大家分享一篇蒸發器的種類和工作原理.
蒸發器是制冷機中的冷量輸出設備。制冷劑在蒸發器中蒸發,吸收低溫熱源介質(水或空氣)的熱量,達到制冷的目的。
蒸發器按其冷卻的介質不同分為:冷卻空氣的蒸發器、冷卻液體(水或其它液體載冷劑)的蒸發器。

冷卻空氣的蒸發器:
空氣自然對流時多采用光盤管結構
空氣強制對流時采用翅片管結構
冷卻液體(水或其它液體載冷劑)的蒸發器:
殼管式
沉沒式
根據制冷劑供液方式的不同:
滿液式蒸發器
干式蒸發器
循環式蒸發器
噴淋式蒸發器
滿液式蒸發器
按其結構分為臥式殼管式、水箱直管式、水箱式等幾種結構型式。它們的共同特點是在蒸發器內充滿了液態制冷劑,運行中吸熱蒸發產生的制冷劑蒸氣不斷地從液體中分離出來。由于制冷劑與傳熱面充分接觸,沸騰換熱系數更高。但不足之處是制冷劑充注量大,液柱靜壓會給蒸發溫度造成不良影響;若采用能溶于潤滑油的制冷劑,潤滑油難以返回壓縮機。
殼管式滿液式蒸發器:
一般為臥式結構,見圖。制冷劑在殼內管外蒸發;載冷劑在管內流動,一般為多程式。載冷劑的進出口設在端蓋上,取下進上出走向。制冷劑液體從殼底部或側面進入殼內,蒸氣由上部引出后返回到壓縮機。殼內制冷劑始終保持約為殼徑70%~80%的靜液面高度。
殼管式滿液式蒸發器應注意以下問題:
①以水為載冷劑,其蒸發溫度降低到0℃以下時,管內可能會結冰,嚴重時會導致傳熱管脹裂。同時蒸發器水容量小,運行時熱穩定性差;
②低蒸發壓力時,液體在殼體內的靜液柱會使底部溫度升高,傳熱溫差減小;
③與潤滑油互溶的制冷劑,使用滿液式蒸發器存在著回油困難;
④制冷劑充注量較大。同時不適于機器在運動條件下工作,液面搖晃會導致壓縮機沖缸事故;
⑤在滿液式蒸發器中,由于制冷劑氣化,產生大量氣泡,使液面升高,因此制冷劑充注量不應浸沒全部換熱面。
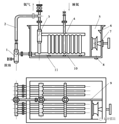
水箱式蒸發器:
水箱式蒸發器可由平行直管或螺旋管組成(又稱為立式蒸發器)。它們均沉浸在液體載冷劑中工作,由于攪拌器的作用,液體載冷劑在水箱內循環流動,以增強傳熱效果。制冷劑液體在管內蒸發吸熱,使管外載冷劑降溫。
立管式水箱蒸發器
1—集油器;2—均壓管;3—汽-液分離器;4—上集氣管;5—水箱;6—泄水口;7—攪拌器;8—溢流管;9—隔板;10—直立管管束;11—下集液管
可以克服殼管式滿液式蒸發器的可能會結冰,及運行時熱穩定性差缺點,同時制冷劑下進上出,符合液體沸騰時的運動規律,循環良好,沸騰換熱系數較高。
非滿液蒸發器
非滿液式蒸發器(干式蒸發器)
干式蒸發器是一種制冷劑液體在傳熱管內能夠完全氣化的蒸發器。其傳熱管外側的被冷卻介質是載冷劑(水)或空氣,制冷劑則在管內吸熱蒸發,其每小時流量約為傳熱管內容積的20%-30%。增加制冷劑的質量流量,可增加制冷劑液體在管內的濕潤面積。同時其進出口處的壓差隨流動阻力增大而增加,以至使制冷系數降低。
按冷卻介質分:
冷卻液體干式蒸發器
冷卻空氣干式蒸發器(直接蒸發式空氣冷卻器)
冷卻液體干式蒸發器:
干式殼管焊接板
式蒸發器蒸發器
1、干式殼管蒸發器
殼管式干式蒸發器分為直管式和U形管式的結構型式。它們的共同特點是殼內裝有多塊圓缺形折流板,目的在于提高管外載冷劑流速、增強換熱效果
干式殼管式蒸發器的特點是:
①能保證進入制冷系統的潤滑油順利返回壓縮機;
②所需要的制冷劑充注量較小,為同能力滿液式蒸發器的1/3;
③用于冷卻水時,即使蒸發溫度達到0℃,也不會發生凍結事故;
④可采用熱力膨脹閥供液,這比滿液式的浮球閥供液更加可靠。
直接蒸發式空氣冷卻器
這類蒸發器按空氣的運動狀態分有冷卻自由運動空氣的蒸發器和冷卻強制流動空氣的蒸發器兩種型式。
1、冷卻自由運動空氣的蒸發器:由于被冷卻空氣呈自由運動狀態,其傳熱系數較低。所以這種蒸發器被制成光管蛇形管管組,通常稱做冷卻排管。一般用于冷藏庫和低溫試驗裝置中。
冷卻排管具有存液量少,其充液量約為排管內容積的40%左右,操作維護方便等優點。但存在管內制冷劑流動阻力大,蒸發后的蒸氣不易排出。同時由于管外空氣為自由運動,傳熱系數較低,一般在6.3-8.1W(m2·K)范圍。
2、冷卻強制流動空氣的蒸發器(又稱冷風機):由于光管式空氣冷卻器傳熱系數K很低,為加強空氣側的換熱,往往需要在管外設置肋片以提高傳熱系數值。但是在一般情況下,設置肋管后因片距較小會引起較大的流動阻力,必須采取措施強制空氣以一定的流速通過肋片管族,以便于獲得較好的換熱效果。
這種蒸發器具有結構緊湊,傳熱效果好,可以改變空氣的含濕量,應用范圍廣等優點。但從制造工藝要求分析,肋片與傳熱管的緊密接觸是提高其傳熱效果的關鍵。
循環式蒸發器
這種蒸發器中,制冷劑在其管內反復循環吸熱蒸發直至完全氣化,故稱做循環式蒸發器。循環式蒸發器多應用于大型的液泵供液和重力供液冷庫系統或低溫環境試驗裝置。
循環式蒸發器的優點在于蒸發器管道內表面能始終完全潤濕,表面傳熱系數很高。但體積較大,制冷劑充注量較多。
無錫綠禾盛環保科技有限公司是一家研發生產蒸發器,三效蒸發器,廢水蒸發器,MVR蒸發器,強制循環式蒸發器,單效降膜蒸發器、多效降膜蒸發器,工業廢水回收處理成套裝置等蒸發濃縮。通過蒸發器有效的幫客戶解決傳統蒸發器能耗高、堵塞、水質超標等問題。 歡迎電話咨詢:182-6158-1511。

復制成功
×